Spare Parts - | SHE99C05UC/38
Quickly and conveniently find authentic, original Bosch replacement parts for your home appliance.

Model No. (E-Nr.):
SHE99C05UC/38
Spare Part Overview
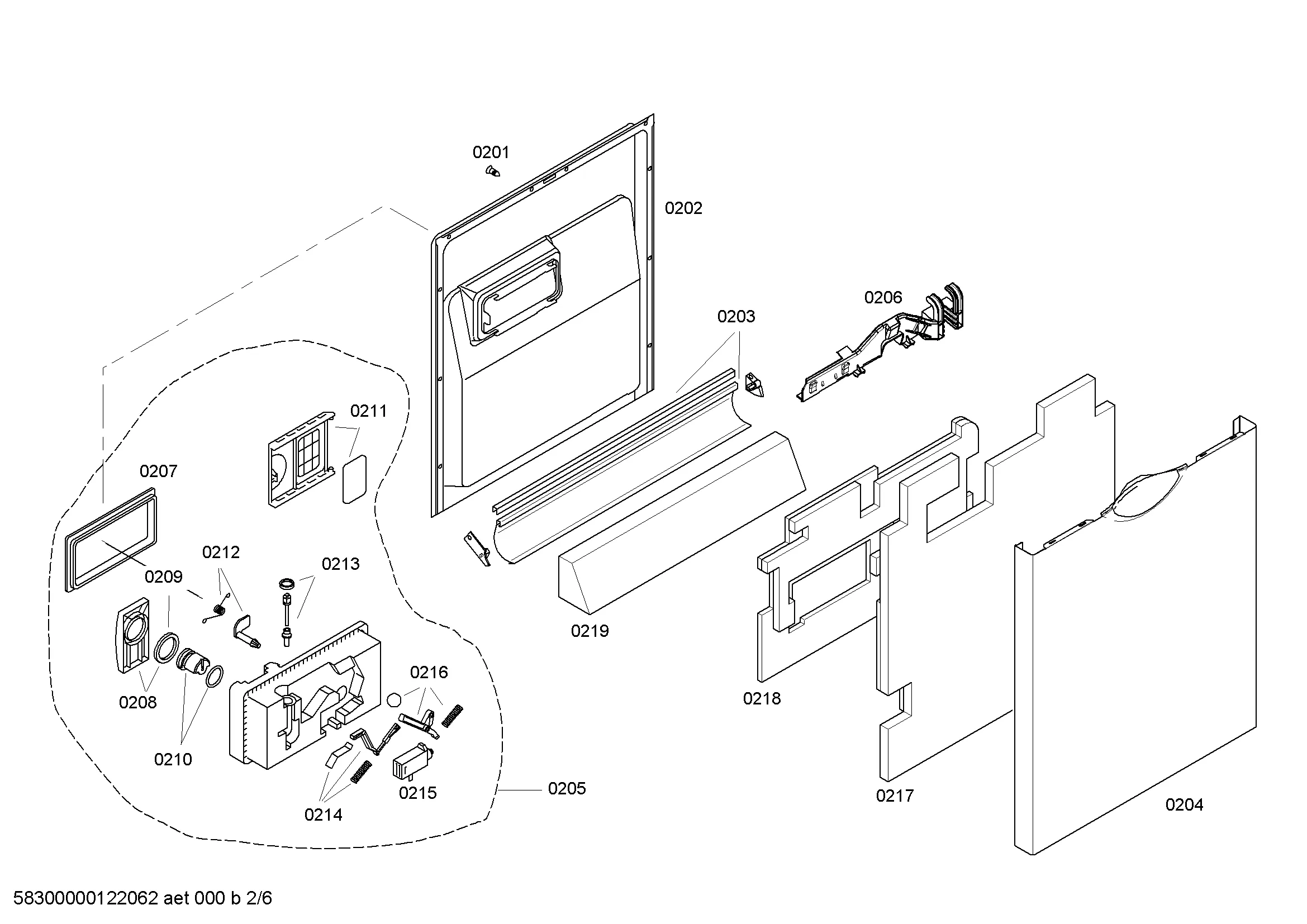
Click the image to zoom in the gallery and identify the spare part you need. You find the parts in the product list below.
Select the spare part you need in the gallery or browse the spare part list below.
1 / 0
Filtered product list based on the selected view in the gallery above.
Showing 0
of 169 spare parts
Sort by





